
La barque conservée au Jesus Boat Museum du kibbutz de Ginnosar (Wikimedia).
Une barque sous le lac
Guy Couturier | 21 novembre 2003
En archéologie, les fouilles sous-marines sont pratiquées depuis de nombreuses années, avec des résultats souvent merveilleux pour l’histoire. En dehors des travaux dans le port d’Hérode à Césarée, les archéologues de Palestine se sont rarement aventurés dans cet art plutôt complexe. La nature a comblé cette lacune, au moins une fois.
Le niveau des pluies en Palestine fut bien en-dessous de la normale en 1985 et en 1986, la sécheresse menaçait ce coin de la planète. Le lac de Tibériade atteignit cette année-là son niveau le plus bas de mémoire d’homme, laissant à découvert les parties importantes de son fond. En mars 1986, deux jeunes Israéliens de Ginnosar (Gennésareth) en profitèrent pour scruter cette surface « neuve » à la recherche de quelques antiquités. L’un d’eux remarqua une forme a peu près ovale se détachant du fond marin composé de pierrailles et de boue. En grattant légèrement avec son pied, il atteignit rapidement le bord d’une grande planche en bois; la poursuite de ce bref examen révéla, de toute évidence, le contour d’une barque enfoncée dans la glaise. Ils alertèrent aussitôt un ami qui s’y connaissait mieux en archéologie : l’état de l’enfoncement de la barque et la possibilité d’observer la façon dont les planches étaient reliées entre elles étaient de bons indices de sa grande ancienneté. On entreprit donc aussitôt son dégagement, avec grande précaution, car les cellules du bois étaient gorgées d’eau : dès que cette eau s’évaporera, le bois tombera en poussière! Il fallait donc faire vite, pour cette raison, surtout que des orages violents et assez rapprochés faisaient déjà monter le niveau du lac. Il a fallu onze jours de travaux acharnés (jours et nuits) pour la dégager pleinement; on a dû, à la fin, dresser une digue contre les eaux du lac qui menaçaient de l’engloutir à nouveau. Avec grande précaution, on réussit à l’envelopper totalement, à l’intérieur et à l’extérieur, dans une matière plastique assez rigide qui puisse assurer son transport dans un grand bassin d’eau placé à l’intérieur d’un musée temporaire, sur la berge. On pourra donc l’étudier, sans qu’elle ne s’effondre sous les regards!
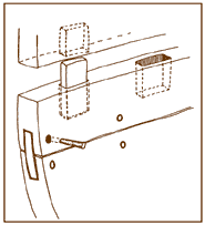
Les dimensions conservées de la barque sont impressionnantes : sa longueur de 8,20 m et sa largeur maximale de 2,5 m sont entièrement conservées; sa profondeur n’est plus que de 1,25 m (voir la photographie). Elle est construite de belles files de bordage (planches s’étendant de l’avant à l’arrière, en cèdre, et formant la carène) attachées par des clous de fer à des baux (sorte de poutres transversales, en chêne). Comme le montre le dessin ci-contre, les planches sont reliées par des mortaises et des tenons fixés par des chevilles de bois. La quille est presque intacte. La poupe et la proue conservent suffisamment de leurs éléments pour être reconstituées. Évidemment, rien ne subsiste du pont, du gouvernail et du mât; toutefois, on a pu identifier l’endroit précis de l’attachement de ce dernier à la quille.
L’antiquité de la barque et sa datation assez précise peuvent être déterminées par la technique de construction bien connue et attestée dans le monde méditerranéen, à l’époque romaine. Les planches de la carène sont reliées les unes aux autres par des mortaises (entailles dans le bois) et des tenons (chevilles enfoncées dans les mortaises) qui sont aussi fixés par des petites chevilles de bois, à la tête arrondie (fig. 2). Cette technique est typique des chantiers navals du milieu du Ier siècle avant J.-C. jusqu’au début du IIe siècle après J.-C. Cette datation a pu être largement confirmée, et précisée, par d’autres découvertes reliées à cette barque; une petite lampe à l’intérieur de la carène est apparentée aux lampes de la dernière moitié du Ier siècle avant J.-C. Si plusieurs monnaies byzantines, arabes et turques étaient éparpillées dans les dépôts entourant la barque, un nombre important de monnaies du IIe siècle avant J.-C. jusqu’à la fin du Ier siècle après J.-C. assurent donc la période originelle de la barque. On prit évidemment soin de faire quelques analyses au cabone 14 (datation par étude du carbone radioactif) : encore ici, une date de 50 avant J.-C. jusque vers 75 après J.-C. est résultée de ces examens physico-chimiques. Personne ne conteste donc le fait que nous soyons en présence d’une barque du temps de Jésus, ou de l’époque qui lui est immédiatement subséquente.
À quel usage a-t-elle pu répondre? Évidemment on pense aussitôt à une barque de pêcheurs. Par les textes, nous savons qu’elles étaient de deux types : un premier type est assez petit, ne pouvant accomoder que deux ou trois pêcheurs. Le second type est beaucoup plus grand, permettant de loger jusqu’à 15 personnes (pêcheurs et aides). Les évangiles, dans les récits de pêche (Mc 1,19-20; Jn 21,1-2) et dans celui de la tempête apaisée (Mc 4,35-41 et parallèles) supposent ce second type de barque. Celle qui vient d’être exhumée de la boue du lac de Tibériade, dans cette région où Jésus vécut la majeure partie de sa vie publique, appartient de toute évidence à ce même type. Nous sommes donc bien en présence d’un bateau qui aurait pu servir à Jésus et à ses apôtres, pêcheurs!
Une autre découverte, quelques mois plus tard, à Magdala, doit être rapprochée de celle de Ginnosar : un des motifs d’un sol en mosaïque d’une maison du Ier siècle après J.-C. représente un bateau (voir l’encadré) : sa forme très schématique correspond bien à celle de la barque de Ginnosar et, de plus, elle nous permet de compléter assez facilement les éléments manquants.
Quelques historiens croient que la barque pourrait aussi être le témoin de la fameuse bataille navale, dans cette partie du lac de Tibériade, qui opposa Juifs zélotes et Romains, en 67 après J.-C.; l’historien Flavius Josèphe, témoin oculaire de l’événement, nous dit que 6700 Juifs périrent en mer, et que leurs barques furent englouties sous les eaux. L’hypothèse ne peut être rejetée de prime abord.
Il reste quand même bien établi que cette découverte toute récente nous informe directement sur le type de bateaux utilisés par Jésus et ses disciples. En dernier lieu, on nous informe qu’un procédé a été mis au point pour remplacer progressivement (une période de 8 à 10 ans) l’eau des cellules du bois par de la cire dure, ce qui permettra d’exposer la barque de Ginnosar à l’air libre et au regard ébahi des visiteurs.
Orientaliste et exégète de l’Ancien Testament, Guy Couturier (1929-2017) était professeur émérite de l’Université de Montréal.
Source : Parabole xv/5 (1993).

